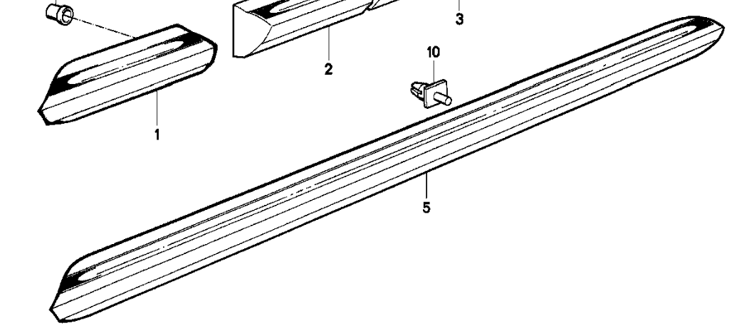
Stückzahl Halteklammer Schwellerleiste
Moin zusammen,
ich konnte leider nichts im Netz finden, wie viele von den Halteklammern (Pos. 10), der Schwellerleiste am Cabrio, sind denn pro Leiste verbaut?
![[image]](images/uploaded/2024050109344266320cb2e6258.png)
Grüße und einen schönen ersten Mai.
Carsten
gesamter Thread:
- Stückzahl Halteklammer Schwellerleiste -
Minime,
01.05.2024, 11:36
- Stückzahl Halteklammer Schwellerleiste - GT600, 01.05.2024, 21:19
